亚马逊获得的一项专利可以将人与机器配对。在这种情况下,人类将被关在笼子里。

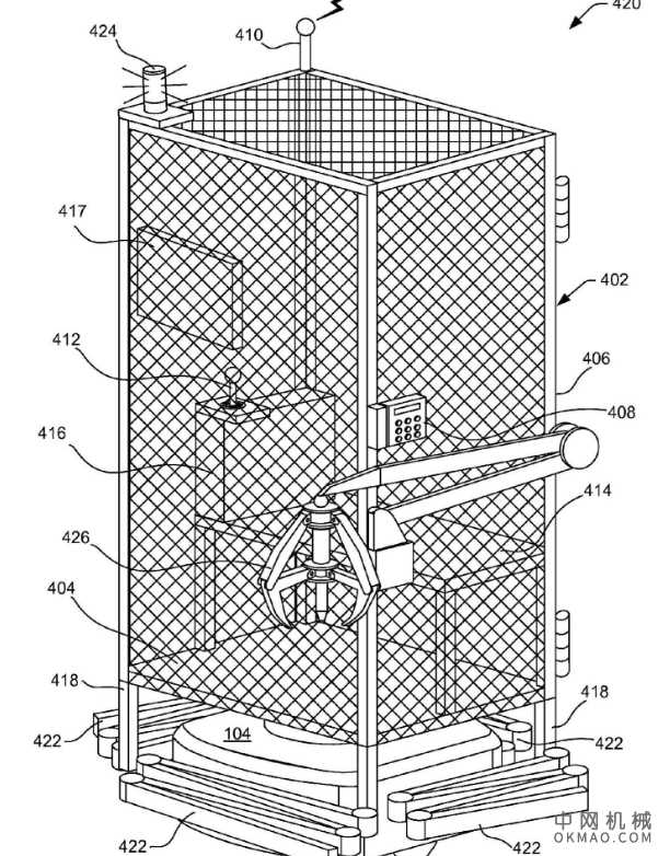
该专利随附的插图(由美国专利商标局于2016年授予)显示了一个笼子状的外壳,围绕着一个小工作区,该工作区位于机器人手推车的顶部,该机器人手推车现在可驱动亚马逊仓库周围的货架中国机械网okmao.com。
研究人员在周五发表的一项研究中强调了这项专利,称该专利为“工人异化的非凡例证,是人与机器之间关系的一个鲜明时刻”。
亚马逊表示,它从未实施过这项技术,也没有计划,但这项设计似乎是为了让人们安全地进入亚马逊高度自动化的仓库中仅限机器人的区域进行维修或捡起掉落的物体。
例如,在肯特州的亚马逊工厂中,一台重达750磅的机器人在高链链接围栏周围的区域内踩着架子踏板车,将iPhone外壳和咖啡杯之类的商品带给等候的员工,这些员工可以从内置在窗户中的窗户放置或取回物品栅栏。
该公司表示,如果未经授权的人员误入机器人专用区域,则会触发警报,并且设备会关闭,以免与人碰撞。亚马逊在其专利中提出了一种绕开人与机器人领域之间牢固界限的方法。
该专利说:“在某些情况下,操作人员有必要穿越或进入活跃的工作空间,”该专利归功于亚马逊机器人公司所在地波士顿地区的八位发明家,该发明是通过收购而形成的。 Kiva Systems于2012年成立。
亚马逊发言人林赛·坎贝尔(Lindsay Campbell)说,有关该公司使用该专利的猜测是“错误的”。
她说:“像许多公司一样,我们提出了许多前瞻性专利申请。” 许多人不认为成品就是天亮,尤其是在亚马逊,它鼓励员工进行实验和发明。坎贝尔说,这种类似笼子的设备没有在亚马逊的任何运营中心使用。
这个故事在线发布后,负责运营高级副总裁的亚马逊仓库和物流工作的戴夫?克拉克(Dave Clark)在Twitter上表示,该公司没有计划使用这种设备。
尽管如此,该公司的专利经常引发人们对亚马逊技术和商业计划的猜想。亚马逊的其他其他专利已考虑使用腕带来跟踪工人的手部动作,将包裹从空中25英尺高的无人机上掉下来,或者使无人机自身相互连接以形成一种浮动仓库。
纽约大学AI Now研究所的联合创始人凯特·克劳福德(Kate Crawford)和纽约大学教授弗拉丹·乔勒(Vladan Joler)星期五在关于构成亚马逊Echo生态系统的各种系统的冗长的案例研究中出现了笼式专利的参考。
塞尔维亚诺维萨德大学的新媒体系。Crawford还是Microsoft Research的首席研究员。
Crawford和Joler在名为“ AI系统解剖”的研究工作中描述了该专利:
他们写道:“它描绘了一个供工人使用的金属笼子,配有不同的控制论附件,可以通过相同的电动系统在整个仓库中移动该电动系统,该系统可以移动装满商品的货架。” “在这里,工人变成了机械芭蕾舞的一部分,直立在笼子里,指示并限制了他们的活动。”
亚马逊在其专利中建议使用所谓的人力运输设备将工人带到机器人附近,以进行维修或拆除故障手推车或取下从机器人控制的架子上掉下来的物品的情况。
它们还可以用于跨越禁区的工作空间到达洗手间,否则这将是一次重大的徒步旅行。
亚马逊已经将对效率和业务流程的痴迷变成了在线零售和物流帝国,并期望通过其人力运输设备实现大量自动化。
在专利描述的一种情况下,发生故障的机器人可能会警告计算机系统,自动生成维修订单,并将其分配给可用的人员运输设备。哪个设备接收命令可以由其位置,时间表或所处人员的特定技能来确定。