对于新车上市,我们对汽车制造商表示同情。当它是福特Bronco等备受期待的机器时,我们的同情会更加深刻,而当涉及的车辆具有各种新颖的设计和技术时,尤其如此。用专利保护这些东西非常重要,但是要使所有内容都保密,也要困难得多,因为让我们面对现实吧–我们喜欢挖掘秘密信息中国机械网okmao.com。
这使我们提出了福特于2018年5月提交的专利申请,但该申请最近才在线发布。当然,在此可移动门设计的描述中任何地方都找不到Bronco这个词,但让我们在这里变得现实。福特并没有计划为Explorer提供快速释放的可移动门,实际上,这款特定SUV的草图确实类似于我们在Bronco R上已经看到的外观。

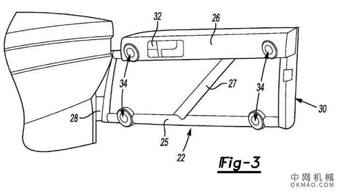
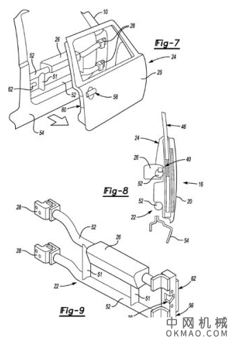
这正是该专利申请的目的-快速可移动门。该专利申请的摘要特别提到了一种外门,该外门“通过至少一个快速连接机构可拆卸地固定在门组件上。” 不必太过深入地讨论法律专利,这种设计似乎采用了一个内管状门,该门包含门把手以及用于电动窗和锁的电子开关。
外门通过各种快速释放闩锁连接到内部管状装置,使门外皮能够快速脱落。内部组件牢牢固定在适当的位置,提供了一定程度的保护,同时仍为驾驶员和乘客提供了视野开阔的露天体验。
通常,我们建议读者带着一粒盐申请专利。各种疯狂的想法都申请了专利,许多想法从未超越最初的概念。但是,这几乎保证了新的Bronco将具有可移动的门-我们已经看到了其他几项与门相关的专利,涵盖从扩展的障碍物到安全气囊系统的所有内容 -这种快速释放的布置对我们来说具有各种逻辑上的意义。它也是吉普牧马人可移动门上的单层设计,起飞时有点复杂,并且没有其他子结构。
这是否是Bronco的最终设计还有待观察,但是当期待已久的SUV首次面世时,看到它一字不漏的话我们不会感到惊讶。这将发生在下个月与在纽约车展上亮相可能性。





